- within Intellectual Property topic(s)
- in European Union
- with readers working within the Retail & Leisure and Securities & Investment industries
- within Coronavirus (COVID-19) and Cannabis & Hemp topic(s)
DecathaLAW Series 2026: Article 7
Ski racing has always been a moving target for designers: faster turns and higher speeds demand constant advances in materials, geometry, and protection, while governing bodies try to preserve safety and competitive balance. The International Ski and Snowboard Federation (FIS) publishes detailed specifications governing skis, bindings, boots, suits, protectors, and helmets, thereby illustrating how performance innovation and safety regulation evolve together.
Skis
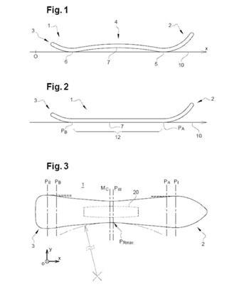
Ski design has changed more in the last few decades than in the prior century. For a long time, alpine skis were relatively "straight," meaning the edges ran almost parallel from tip to tail. This design made it more difficult to bend the ski into a clean, arcing ("carved") turn and often led skiers to steer by skidding the ski sideways. However, that began to change when manufacturers adopted deep sidecut designs where the skis were shaped more like an hourglass, with a noticeably narrower middle section under the boot and a wider tip and tail. This more pronounced inward curve along the ski edges helps the ski to naturally follow a tighter arc when tipped on its edge, making carving turns easier. The deep sidecut design changed technique and speed across the sport. A widely credited milestone is Elan's SCX (SideCut eXtreme) introduced in the early 1990s. It is frequently described as one of the most important advances in ski history because it quickly influenced the broader market. In the early 1990s, Elan® also pursued patent protection (SI Application No. 9200121A, filed June 19, 1992) around these deep sidecut concepts.
Sidecut geometry remains an active area of patenting. For example, Rossignol® has an issued patent (U.S. Patent No. 12,502,594, issued December 23, 2025) directed to an "alpine ski with improved sidecut," which reflects ongoing R&D on sidecut design and how a ski's edges engage and track on snow. Rossignol's designs are also expected to be represented at the 2026 Milan Cortina Games by three-time Olympic medalist for Italy, Federica Brignone, who lists Rossignol skis (as well as Rossignol helmet and goggles) among her personal equipment.

Beyond shape, modern race skis increasingly emphasize stability systems designed to reduce vibration ("chatter") and help keep the ski in consistent contact with the snow at high speed. The Austrian brand, Atomic®, is a leading example, with its marketed stability system, Revoshock®, that is centrally integrated into its Redster® line of skis. Atomic's Revoshock technology utilizes spring-steel modules encased in elastomer that are designed to absorb impacts and then rebound energy. Mikaela Shiffrin, two-time Olympic gold medalist for the U.S., uses Atomic gear and touts that the "Redster G9 Revoshock provides the perfect combination of control, stability, and acceleration. These are the main things I need from a ski to perform on the biggest stage."
Bindings
Bindings and boots are another critical component of ski gear. Bindings are the mechanical connection that fastens a skier's boot to the ski and must accomplish two objectives simultaneously: (1) transmit the skier's movements into the ski for control and power, and (2) release in certain falls to reduce injury risk.
Historically, many downhill skiers relied on cable-style systems that did not release in crashes, which contributed to serious lower-leg injuries. A major turning point for modern alpine bindings was the Look Nevada bindings introduced in 1950, widely described as the first recognizably modern alpine toe binding and a foundational pattern that influenced binding designs that followed.
As ski racing speeds have increased, bindings have evolved to actively manage risk by releasing the boot when forces become dangerous. Modern alpine bindings generally aim to release in a controlled way under lateral and/or vertical loads that commonly occur in falls, while still keeping the boot securely connected during aggressive turns. One example of this evolution is a design related to a mechanically linked safety toe piece that Marker Deutschland GmbH previously had patent protection for (U.S. Patent No. 5,071,155, issued December 10, 1991) but has since expired. This design used linked moving components and boot-holding clamps intended to stay locked during normal skiing, but to unlock and release when the boot applied forces that exceeded a predetermined threshold.
More recently, innovation has moved toward sensor-driven safety mechanisms. For example, U.S. Patent No. 11,696,615 (issued July 11, 2023) covers a sensor‑activated release system in which onboard sensors detect sudden, high‑risk forces and send a signal to a small control module that triggers a rapid, charge‑assisted release, thereby allowing the boot to separate from the ski faster than traditional force‑threshold designs. This kind of engineering, whether through mechanical linkages or electronically assisted release systems, continues to advance the safety of alpine ski bindings in high‑speed events.

Race Suits
Lastly, racing suits play a role in an Olympian's success as well. Ski racing suits are typically made from tight-knit polyester or nylon blended with elastane to enhance aerodynamics and reduce drag. Brands such as Spyder®, Arctica®, and POC® are known for their high-performance ski racing suits, which are designed to provide a smooth fit and minimize drag for better speed on the slopes. For example, Arctica released its NexGen race suit fabric in 2022, which includes a 3-layer design with an outer layer for durability, a center layer to control air porosity and improve speed, and an inner layer for sweat wicking and comfort. However, the sport's regulators limit how far designers can push aerodynamic design gains. Specifically, the alpine events at the 2026 Olympic Games are expected to be conducted in accordance with the FIS International Competition Rules (ICR). As part of that framework, FIS's equipment specifications include detailed rules for competition race suits. In accordance with these specifications, FIS-certified race suits must carry certification labels showing they passed FIS air‑permeability testing. This requirement is intended to limit unfair aerodynamic manipulation.
In addition to the suits, skiers often wear underlayers made from cut-resistant materials like Kevlar® or Dyneema® to protect against impacts and lacerations from their skis when crashes occur. Kevlar, an aramid fiber, was invented in 1965 by chemist Stephanie Kwolek during her time at DuPont, while Dyneema, an ultra-high-molecular-weight polyethylene fiber, was invented in the late 1960s at DSM, a Dutch company. One of the principal patents covering Dyneema (U.S. Patent No. 8,302,374, issued November 6, 2012) is directed to a yarn including filaments and staple fibers to improve the yarn's cut resistance.
Alpine ski racing illustrates how performance and safety innovations evolve together over time to allow athletes to perform at their best. Equipment advances — whether in ski geometry, vibration control, binding release mechanisms, or race-suit construction — often arrive in parallel intellectual property activity, thereby allowing each new generation of gear to build on the last.
The content of this article is intended to provide a general guide to the subject matter. Specialist advice should be sought about your specific circumstances.