- within Accounting and Audit, International Law and Law Department Performance topic(s)
James Dyson is celebrated for his relentless innovation and engineering brilliance. But before the global success of the bagless vacuum, there was the Ballbarrow - a clever reinvention of the wheelbarrow that taught Dyson one of his most painful (and formative) lessons in business.
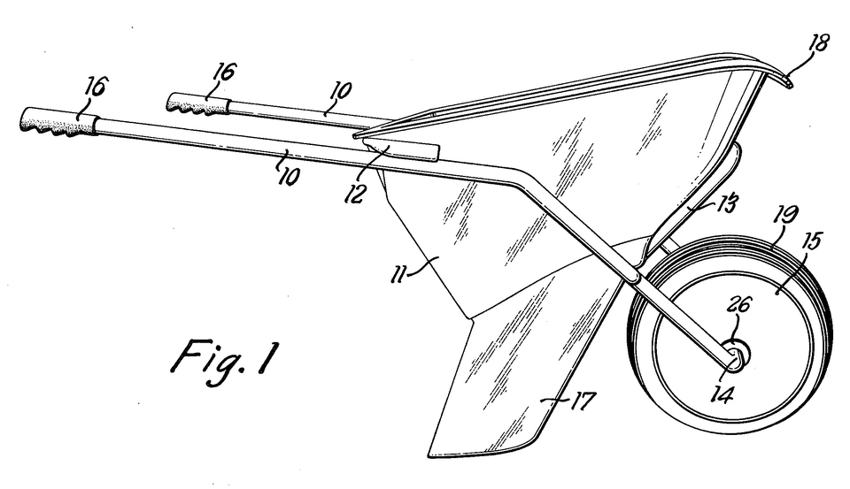
The Ballbarrow: A brilliant reinvention

In around 1974, Dyson invented the Ballbarrow, a wheelbarrow with a large plastic ball instead of a traditional wheel. This design offered better stability and maneuverability, especially on soft or uneven ground. The Ballbarrow won the Building Design Innovation Award in 1977.
Dyson and his wife Deirdre started the business themselves, despite having no formal business training. Garden centres initially refused to stock the product, so Dyson advertised directly in newspapers, which led to strong consumer demand and a significant share of its niche market.
The mistake: Losing control of the patent and company
Dyson's biggest mistake was not selling the patent outright but assigning the Ballbarrow patent to the company established for the venture, Kirk‑Dyson Ltd, and later losing control of that company. As the company grew, he was forced to take on outside investors and eventually lost majority control. The board made decisions Dyson disagreed with, including abandoning direct-to-consumer sales and selling a U.S. licence. These moves eroded margins and cash flow and ultimately led to Dyson losing control of both the company and the Ballbarrow patent.
In his own words, Dyson described this as his biggest business mistake: not retaining control over his invention and allowing others to dictate its future.
The impact and lessons learned
This experience influenced how Dyson later developed and commercialised the Dual Cyclone vacuum cleaner. He selectively licensed the design in certain markets before building Dyson Ltd and an integrated model that kept brand, product and quality decisions under his control. The enduring lesson was not that licensing is inherently wrong, but that control over the core decisions and alignment between Intellectual Property ("IP") ownership and governance matter most.
These events offer practical lessons for innovators and founders. IP ownership and governance control should be structured deliberately, because losing control of the company that holds the patent can result in losing strategic control of the invention. In addition, Dyson's strategies to ensure demand for his product and a clear focus on cash flows is certainly worth noting (and something many entrepreneurs fail to take into account). Above all, Dyson's trajectory underscores that control over both the company and the core IP can shape long‑term outcomes and the ability to build a durable brand.
Key lessons
- Ownership of IP If you lose control of the company that holds the patent, you may lose control of the invention. Entrepreneurs must think carefully about how IP is held and protected. This applies equally to other forms of IP as well.
- Control is critical Dyson's story is a powerful reminder that retaining control over your how your IP is commercialised can be the difference between failure and global success
"Enjoy failure and learn from it. You can never learn from success" - James Dyson
The content of this article is intended to provide a general guide to the subject matter. Specialist advice should be sought about your specific circumstances.
