ARTICLE
18 February 2022

看冬奥,聊一聊智慧餐厅背后的专利!

K
Kangxin

Contributor

Kangxin Partners is a leading Chinese IP firm, providing comprehensive IP services to global and domestic clients for over 25 years. Experienced IP professionals work with clients ranging from startups to Fortune 500 companies to secure their IP assets. Kangxin grows exponentially while continuing to provide exceptional IP services.
第24届冬奥会正在我国如火如荼地进行,早已经成为大家关注的焦点。其中,浪漫、空灵的开幕式,运动员的精彩表现,夺取金牌的激动瞬间,&#
China Intellectual Property
Kangxin are most popular:
  • within Real Estate and Construction, Government and Public Sector topic(s)

第24届冬奥会正在我国如火如荼地进行,早已经成为大家关注的焦点。其中,浪漫、空灵的开幕式,运动员的精彩表现,夺取金牌的激动瞬间,一墩难求的冰墩墩等,无不吸引着众人的目光。

本届冬奥会中,从火炬传递、开幕式演出、赛场建设、节目转播、后勤保障等各个方面,均蕴含着很多新的科技元素。比如,奥运火炬的首次水下传递,开幕式中惊艳的地面屏幕,水立方从游泳场馆到冰壶场馆的华丽变身,均离不开科技创新的加持。因此,除了比赛本身,北京冬奥会也是一个新技术集中展示的平台,这对科研人员以及知识产权从业人员来说,是一个很好的了解技术发展趋势的机会。

与往届冬奥会不同的是,北京冬奥会不仅是一场竞技赛事,还要面临疫情防控的考验,因此北京冬奥会大量使用了服务机器人,来达到减少人员接触的目的。其中,最令笔者感兴趣的是位于主媒体中心的智慧餐厅,整个智慧餐厅的厨房空无一人,厨师和服务员均是机器人。

1163120a.jpg

图片来源:腾讯新闻

据报道,智慧餐厅内配备了120台制餐机器人,餐厅内智能化、自动化的餐饮设备可不间断运行,实现了点餐、备餐、上菜全过程自动化,可同时为数千人提供多种菜肴服务。智慧餐厅的实际应用不仅仅是带给人们新奇的体验,它在减少人员接触、效率、标准化等方面具有天然优势。

下图为炒菜机器人制作中国炒菜,装有菜品的锅体从不同角度转动和摆动,其混合的均匀性胜于人工颠勺,由图可以看出机器人中不同机构的动作和配合非常流畅。

1163120b.gif

图片来源:腾讯新闻

菜品制作完成后,由送餐机器人接应,通过自动计算出的最优路径,经由餐厅顶部的一条条"云轨",将菜品输送到客人所在的餐桌,然后盛着食物的托盘就会随着下放的缆绳"从天而降"。

1163120c.gif

图片来源:腾讯新闻

下图为煲仔饭机器人,当客人点好餐后,机器人就会将事先准备好的食材砂锅放入炉灶中焖制,期间开盖、加油、添料等操作环节都是由机械臂自动完成,无需人工参与。

1163120d.gif

图片来源:腾讯新闻

除了中餐之外,智慧餐厅还可提供汉堡、披萨、鸡尾酒等西餐服务,如汉堡机器人,一个机械臂主操控,其他机械臂辅助,从制作到打包一气呵成。

1163120e.gif

图片来源:腾讯新闻

甚至还有调酒机器人,调酒机器人包括一个机械臂和机械臂上方的多个分酒器,安装在机械臂上的容器可根据需要接收不同分酒器中的基酒、辅料,然后容器在机械臂的带动下晃动进行调酒,整个动作过程非常灵活并且不会洒漏。

1163120f.gif

图片来源:腾讯新闻

笔者在对智慧餐厅赞叹之余,很想了解一下这些机器人有哪些相关专利,智慧餐厅从研发到应用,需要投入大量的资金和人力,对知识产权进行有效保护已成为众多企业的共识,想必智慧餐厅的背后,应该申请了很多专利。

在笔者搜集到的多篇报道中,并未提及智慧餐厅的研发单位,甚至一些信息造成了干扰,在多次检索尝试后,在专利文件中找到了答案。

智慧餐厅的研发单位为千玺机器人集团,该公司成立仅三年时间,但公开专利已达千项,而且就是集中在餐饮机器人应用领域。由此可知该公司研发能力很强,发展迅速,通过高投入的研发和及时的专利申请形成核心竞争力,然后产品就可以比较放心地公开推广,从而很快成为行业领先。

笔者通过调整关键词进一步检索,前面提到的不同机器人背后的 专利也逐渐清晰,对于每一类机器人,千玺机器人集团均先后申请了多篇 专利,这是技术改进、迭代,以及从不同侧重全面保护的自然结果。

其中,申请日较早的201910106953.9(下图)公开了一种烹饪设备,从公开信息看,这应该是前面的炒菜机器人的基础 专利

1163120g.jpg

笔者认为,能实现全过程的炒菜机器人是餐饮机器人中最复杂的设备之一,因为炒菜需要由多种特性不同的食材、特性不同的调料制作而成,而且不同菜品中食材、调料加入锅中的时间,以及菜品的火候往往不同,可以说是千变万化,这对 机械结构和程序控制有很大的挑战。至于是如何实现的,可以通过多篇相关专利中的具体内容一窥究竟,这体现了专利公开换保护的一个基本特点。当然,对于很重要的、不想让竞争对手知道的技术,在申请专利时可通过有限披露、延迟公开的方式进行处理。

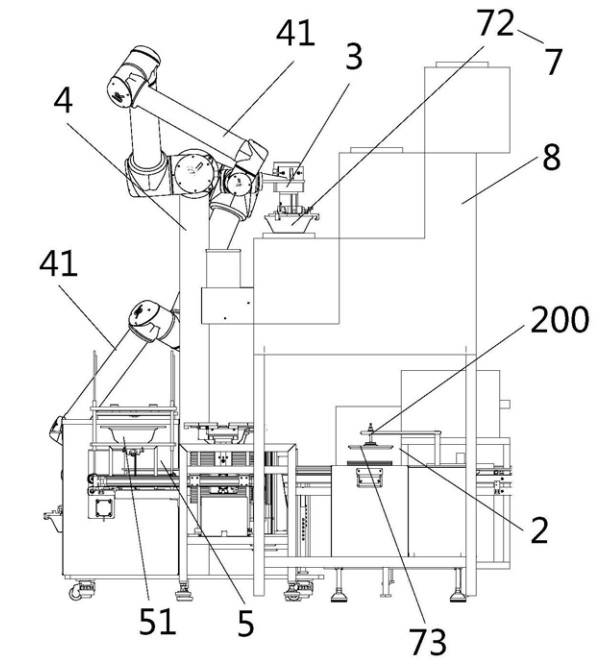
菜品做出来了,如何输送给客人也很重要,其中,201910714348.X通过将菜品输送至窗口,客人自助取餐的方式实现输送;202010406281.6(下图)通过顶部轨道以及升降缆绳的方式将菜品直接输送至客人所在的餐桌,相比于前一种方式,自动化水平、输送范围以及用户体验进一步提高,这也正是前面动图中的菜品输送方式。

1163120h.jpg

专利图片和动图对比可以看到,放置餐盘的装置有所区别,实际应用的是托住餐盘底部并通过多个夹爪夹住餐盘周边的方式,而且只需要一根升降缆绳,这应该是根据实际需求不断改进的结果。我们在考虑申请专利时,应该将各种可行方案都申请,即使不一定实际应用也应申请,这样才能尽量达到全面保护、设置壁垒的目的。

继续检索,201910969446.8公开了一种食材烹饪设备和食材烹饪方法,也可以理解为煲仔饭机器人。

1163120i.jpg

ZL201911401091.9公开了一种食材加工设备,也可以理解为汉堡机器人,该机器人涉及对汉堡中不同食材的烘烤、煎烤、加热、涂酱料、输送以及包装等,因此设备比较复杂,下图中只展示出了一部分。

1163120i.jpg

ZL 202020176434.8公开了一种饮品供应设备,也可以理解为调酒机器人,该机器人可以制作出鸡尾酒、咖啡等饮品,这和前面动图中的机器人很像吧。

1163120k.jpg

当然,笔者检索到的专利方案和智慧餐厅中实际应用的机器人多少有些差异,这一方面是因为个人检索的局限性,另一方面可能有比较新的 专利申请还未公开。上述专利还可以体现一个简单的问题,很多专利申请的发明名称不会直接落到具体对象上,比如上图叫饮品供应设备而不是调酒机器人,会有一些发明人认为这不能直观体现出产品特点,其实这是从保护范围考虑的。

一个靠谱的专利代理师,是从 申请人的利益出发处理专利申请的,对于思路上的差异,需要双方多沟通。笔者在工作中,越来越感觉到沟通和检索的重要性,通过前期的充分沟通,可以更高效、高质量地完成专利申请,通过检索,可以初步判断方案的发明点和创造性,以及为申请人提供合理建议。其中,由于审查周期的原因,越来越多的申请人减少了发明和实用新型同报的专利,这就需要依靠申请人对相关技术的了解以及专利代理师的辅助检索,来尽量客观地确定申请类型。

最后,祝读到此文的你,像冬奥健儿一样,奋勇争先,再创佳绩!

The content of this article is intended to provide a general guide to the subject matter. Specialist advice should be sought about your specific circumstances.

Mondaq uses cookies on this website. By using our website you agree to our use of cookies as set out in our Privacy Policy.

Learn More