- within Privacy topic(s)
When considering intellectual property protection for battery technology it is easy to focus on developments in battery chemistry, materials, and battery cell structures.
However, Ford has been featured on the BESTmag website recently for their new US patent application US 2023/219440 for a "Charging Trailer" for towing behind an electric vehicle. They also featured in news feeds for their roof-mounted battery box. Therefore, addressing issues associated with how electric vehicles are used by the customer is equally worthy of protection and can be highly valuable.
Ben Lincoln of Potter Clarkson, who specialises in battery and energy-related technology, has been searching the patent databases to reveal what other inventions Ford has been developing. It has revealed that Ford has been working on solving problems relating to the use of electric vehicles in a variety of scenarios. In this article, we will look at some of these patent filings.
In published US Patent Application US 2023/145383, Ford Global Technologies LLC describes a driver assistance system for a trailer-mounted battery. The patent application was originally filed in October 2021.
The patent application explains that improvements in electrified vehicles allow them to be used for towing trailers for expanded cargo capacity and for camping where the vehicle is likely to be driven longer distances away from charging infrastructure. Accordingly, it suggests that trailers may include supplemental batteries to supply electrical power for use by electrical devices in the trailer and/or as supplemental power for the towing vehicle.
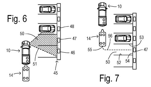
The patent application describes a problem that may be encountered by a driver of an electrified passenger vehicle that is towing one or more trailer-mounted batteries. In particular, it is explained that existing charging facilities for electric vehicles have charging stalls with a layout configured to accommodate single vehicles, thereby being inconvenient for vehicles towing battery-laden trailers. It acknowledges that charging facilities exist that have a drive-through configuration or that provide elongated charging stalls able to accommodate larger vehicles, but these facilities are much scarcer.
To address the problem of how to charge trailer-mounted batteries in a charging stall meant for a single vehicle, it is explained that it may be necessary to unhitch the trailer while in the charging stall so that the passenger vehicle does not block the aisles of a charging station. The invention comprises providing sensors in the passenger vehicle that perform a sensor sweep of the selected charging stall. Then, after unhitching, the trailer uses an independent drive system to park itself in the selected charging stall using driving commands which are calculated from the sensor sweep.

Figures 6 and 7 from US 2023/145383
This patent application is yet to be substantively examined by the US Patent and Trademark Office. Ford has also filed patent applications in Germany and China for the same invention.
US 2023/104277 also relates to the use of an electric vehicle with a trailer. An example is provided that addresses how to manage the state of charge of the battery when the towing vehicle is a hybrid.
The patent considers the impact of towing a trailer on the health of the battery of an electric vehicle. It says "One metric used to monitor or measure the impact of battery utilization on battery health is Amp-hour (Ah) throughput. Higher Ah throughput associated with extended use in unfavorable operating conditions or high-demand applications such as towing a trailer may be associated with more rapid deterioration of the battery State of Health (SoH)."
The patent application describes a method for controlling an electrified vehicle having a battery coupled to an electric motor to selectively provide propulsion to the vehicle, and an internal combustion engine that is configured to supply power to the electric motor and/or the battery. The method describes different operating configurations depending on whether or not it is detected that the vehicle is towing a trailer:
- when the vehicle is towing a trailer (which is associated with battery amp-hour throughput exceeding an associated throughput threshold), the method sustains a state of charge (SOC) of the battery when the SOC is either below a first threshold (e.g. 70%) and above a second threshold (e.g. 30%) or below a third threshold (e.g. 17%); and
- when the vehicle is not towing a trailer, the method operates to deplete the SOC of the battery when the SOC is above the third threshold (e.g. 17%), and sustain the SOC when the SOC is below the third threshold (e.g. 17%).
The 70% - 30% SOC range is termed a "battery health zone" and the action mentioned above is taken to reduce high Ah throughput over the vehicle lifetime. The SOC being below 17% is termed the "charge sustaining zone" where the internal combustion engine provides drive or charging.

Figures 5A, 5B and 5C of US 2023/104277
US Patent Application US 2023/108029 also addresses a problem that may be encountered by a driver of an electrified passenger vehicle that is towing one or more trailer-mounted batteries. The application was filed in 2021 and discloses functionality for use with a GPS navigation system.
The driver assistance system helps a driver identify recharging stations that meet desired "charging objectives" for the combined vehicle/trailer. The charging objectives may be a target state of charge, a target charge time or window, and a geographic region. The system identifies options using, among other things, data on charging station layouts capable of accommodating the manoeuvring capability and the length of the vehicle/trailer combination, and their charging capacities.
The system guides the driver to a parking location and provides instructions for obtaining a hookup to a recharging station.

Figure 1 of US 2023/108029
In 2011 Ford applied for US Patent Application US 2023/145131, which relates to the use of electric vehicles at track days or closed course events.
The document explains that electrified vehicles are recognized for their performance characteristics, which are competitive with combustion engine-based high-performance vehicles. However, it has been identified that there are significant cooling demands if electrified vehicles are to meet customer expectations.
To address this issue, the invention is to provide a thermally conductive plate or heat exchange within a storage compartment positioned forward of a vehicle passenger cabin under the hood. In order to provide enhanced cooling during "high demand operation" or charging, the storage compartment may be filled with ice or dry ice.
The plate or heat exchange has an associated conduit configured for circulating a working fluid from a vehicle cooling system, and a valve operable to control flow of the working fluid through the conduit. The valve may be controlled so that the working fluid bypasses the conduit when the storage compartment is used for cargo, presumably to avoid cooking the driver's shopping following a visit to the supermarket.

Figure 2 of US 2023/145131
With the computer-controlled power delivery provided by electrified vehicles, it could be argued that driving could be less "dramatic" in the future. However, Ford has been addressing that issue too. US Patent US 11, 685, 366 B, granted in June 2023, has the title "Electrified Vehicle Performance Mode With Intentional Wheel Spin For Tire Heating".
The patent describes the problem that while traction control features may be disabled, all-wheel drive vehicles may still attempt to equally distribute torque among all four wheels to reduce or eliminate wheel slip/spin.
Further, it explains that wheel spin may be desirable to heat the tires and improve traction and/or provide a visual exhibition of smoking tires in a "peelout" or "burnout".
The patent defines a controller for controlling an electric motor and the wheel brakes of a vehicle. The controller is programmed to, during a first-time period, control the wheel brakes to apply a braking torque to the wheels of only a second axle in response to brake pedal position exceeding an associated brake pedal threshold. Further, the controller controls the electric motor to apply torque to the wheels of a first axle to intentionally spin the wheels of the first axle in response to the accelerator pedal position exceeding an accelerator pedal threshold that is greater than the brake pedal threshold.

Figure 2A of US 11, 685, 366 B
The sequential application of specific pedal positions thereby allows the user to perform burnouts.
A flow chart in the patent provides a summary of the actions of the controller.

Figure 3 of US 11,685,366 B
SUMMARY
The patents and applications listed here represent a relatively small selection of the patent applications applied for by Ford. However, it is clear that Ford has a diverse R&D programme focussing not only on high-tech solutions in relation to materials and engineering challenges but also on solving real-world problems encountered by the customer and improving the user experience of battery-related technology.
The content of this article is intended to provide a general guide to the subject matter. Specialist advice should be sought about your specific circumstances.
 
                    