- with readers working within the Pharmaceuticals & BioTech industries
The festive season is, for many, a magical time of the year. And when magic is in the air, our imaginations are often encouraged to work a little harder – whether it's children listening for sleigh bells in the snow, or grown-ups trying to find a perfect gift for that difficult-to-buy-for person in their life. For some inventors, however, imaginations are focussed on how to solve problems that come but once a year, such as how to stop the angel at the top of the tree from sitting lop-sided, or how Father Christmas can get into a house with no chimneys. There's a certain kind of innovation which is special to the holiday season, and in this edition of Insight we explore some of the patents filed (and in some cases even granted) for Christmassy inventions.
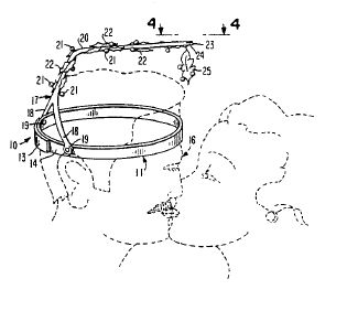
US Patent No. 4,488,316 – Mistletoe Supporting Headband
Picture the scene: you're chatting away at a Christmas party, you feel a deep connection developing between you and your co-conversant, and you realise now is the perfect moment for a kiss under the mistletoe. You look up, but there is no mistletoe to be seen. The sprig you have tucked away in your pocket for just such an occasion is inaccessible because you have a glass of mulled wine in one hand, and half a mince pie in the other. The moment passes, leaving you to wonder what might have been.
Enter the mistletoe-supporting headband. The subject of US Patent No. 4,488,316 is a headband with a cantilevered boom from which is mounted a replaceable mistletoe sprig, so as to dangle above the forehead of the wearer. Never again will an absence of mistletoe thwart the course of true love.

US Patent Application No. 11/022,251 - Angel Anchors
While the mistletoe headband may seem like a solution to a non-problem, surely anyone who has ever decorated a Christmas tree will have struggled, hopelessly, to get the angel at the top to stand up straight. No matter how much care is taken in setting it precisely above the exact centre of the tree's tip, it appears inevitable that the angel will tilt over at a jaunty angle to suggest it has, perhaps, helped itself to a sip or two of the brandy set out for Father Christmas on the table below. Well, not if the Angel Anchor is deployed! The anchor has four rectangular wire clips, each attached to the underside of the angel. To each clip is attached a strand of ornamental beads via an alligator clip, and a plastic tie holds the each strand to a branch of the tree where needed in order to position the angel straight on the tree. Tree toppers, hold your heads up high!
UK Patent No. 1228 – A New or Improved Christmas Cracker
Christmas crackers may have been around since the middle of the 19th Century, but in 1899, UK Patent No. 1228 was granted for a new or improved Christmas cracker. The cracker does not take the traditional bon-bon form, but rather is based on a wishbone.

A prize (a) is attached in the centre of the wishbone, and a section (X) on one side of the wishbone is weakened. An explosive material is contained in a strip (b) between the arms of the wishbone. When the arms are pulled apart, the explosive material detonates, and the wishbone breaks asymmetrically at section (X) so that one person is left with the prize. To a 21st Century ear, the idea of detonating an explosive material sounds rather more violent than today's relatively quiet "crack". Presumably the charge would have been carefully measured so as not to result in dinner table shrapnel injuries from airborne nail clippers or wire puzzles.
With the benefit of 122 years of hindsight, it doesn't feel very surprising that this alternative form of Christmas cracker never took off. This blog writer notes the use of the conjunction "or" in the title of the invention, and suggests it may have been more new than improved.
US Patent Application No. 17/284,183 – Santa's Sunshade
After the cracker of Christmas Past, allow this invention to take you back to Christmas Present. US Patent Application No. 17/284,183 was published last month, in November 2021, and names as applicant and sole inventor none other than one Santa Claus.

The invention itself does not relate to Santa's traditional Christmas role, being an angled sunshade to admit winter sun but provide shade in summer. Although perhaps it is an example of Northern Hemisphere bias to say the technology is un-Christmassy; the application give's Santa's place of residence as New South Wales, Australia, where Christmas does of course come in the middle of summer.
US Patent No. 7,591,569 – Spare Key for Santa
Anyone who has shared the holiday period with children will know that their curiosity can sometimes present challenges, especially on the topic of Father Christmas. How does he have room for so many mince pies? How do his reindeer protect themselves from the heat generated by the enormous air resistance they face, given the speeds they must reach to visit so many homes on one night? Will he be able to get into the house even if there's no chimney?
One of those questions, at least, is easier to answer with the subject of this US patent. The claims relate to a decorative, oversized key-shaped holiday novelty item. The holiday key can be hung outside the children's residence on Christmas eve, and the children are told that Father Christmas can use the key to enter via the front door even in the absence of a chimney. In a particular embodiment, Father Christmas can use a recording device within the key to leave a message for the children, to be played back on Christmas morning. Let's just hope there are no awkward questions about how he evaded the camera in the smart doorbell.

US Patent No. 5,037,347 – Santa's Little Fax Machine
This patent, from 1991, describes an item intended to add weight to threats of Santa withholding presents from children in the event of their bad behaviour in the run up to Christmas. The novelty item comprises a bird sitting in a cage, which has been instructed to watch the children and report back to Santa. The bird sits above a fax machine which, at the touch of a button, can simulate a fax message from Santa to the children commenting on their behaviour – presumably either positively or negatively.

The thought of constant surveillance by a bird with a direct line to Santa does sound like an effective behaviour management tool, although the prominence of the fax machine in this invention is more likely to perplex than motivate anyone born after 2000. Presumably in 2021 the bird would relay tweets from Santa, instead.
The content of this article is intended to provide a general guide to the subject matter. Specialist advice should be sought about your specific circumstances.
[View Source]