ARTICLE
28 December 2022

Wacky Christmas And New Year's Inventions

DG
Dennemeyer S.A.

Contributor

The Dennemeyer Group offers high-quality services for the protection and management of Intellectual Property rights and is committed to being the first-choice partner for customers globally. With 60 years of experience in the industry and 20+ offices worldwide, Dennemeyer manages over three million IP rights of around 8,000 customers. Organizations with even the largest, most diverse IP portfolios turn to the Dennemeyer Group for reliable protection, administration and management of their most valuable assets. In addition to a full spectrum of IP-related legal services, Dennemeyer offers IP strategy consulting, comprehensive IP management software, IP maintenance services and cutting-edge patent search and analytics tools.
The festive season is well and truly here, and we celebrate it in our own inimitable fashion with a host of Intellectual Property (IP) treats for boys and girls of all ages.
Luxembourg Intellectual Property
Dennemeyer  ’s articles from Dennemeyer S.A. are most popular:
  • with readers working within the Advertising & Public Relations industries
Dennemeyer S.A. are most popular:
  • within Technology, Media, Telecoms, IT and Entertainment topic(s)

The festive season is well and truly here, and we celebrate it in our own inimitable fashion with a host of Intellectual Property (IP) treats for boys and girls of all ages. But before we unwrap our intangible Christmas presents, everyone at the Dennemeyer Group would like to wish all our clients and readers a joyous holiday period and a happy, healthy and prosperous 2023. Now, stick on your party hats and let the fun begin!

This year was extra special for us as it saw our 60th anniversary of helping clients make the most of their creative endeavors. In 1962, John J. Dennemeyer established a small patent law firm in Luxembourg – a firm that since then has grown its list of services and expanded to more than 20 offices on six continents to encompass the whole world of IP!

With this momentous year reaching its end, we tip our paper headgear to all the customers, partners and experts who have made this incredible story possible. Where do we go from here? Well, the sky is the limit! And what better way to start the festivities than with a bang?

A cracking Christmas

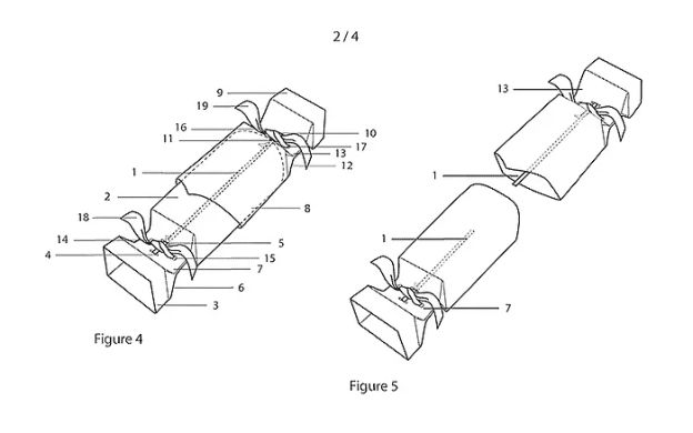
Everyone has an odd friend, but what do you do if you have an odd number of friends around the dinner table for Christmas? Perhaps your party lifeline will come in the unorthodox shape of a three-armed Christmas cracker. The patent documents for this novel novelty describe the plight of feeling left out of the long-standing British tradition of fighting over tabletop trinkets and cringeworthy jokes. Not quite in those words, but the examiners clearly got the picture, granting Christopher Eves a patent for his UFO-esque invention in 2013.

1265666a.jpg
It might not have wings, but a three-way Christmas cracker is a stellar idea that looks like it could take off! (Image credits: Google Patents)

Of course, one downside of a tugging triumvirate is that there is still only one gift and twice as many losers. But if all that sounds like more waste than taste, worry not because an ingenious solution exists: a reusable cracker!

More bang for your buck

After losing out on yet another pair of nail clippers, how do you get a second crack of the whip? Why, you just need to reload your cracker and try again! As exciting a prospect as this may be, inventor Bea Thackeray took another line of thought in developing her plastic-free, multi-use party entertainment line. Her patent stemmed from the need to solve a very different technical problem: how to improve hand-crafted artisanal crackers that were too durable (and pretty) to break.

After coming up with a telescopic prototype, she discovered that Samuel Richard Fitch had patented a related concept – in 1899! Refining and improving her initial design to remove the need for fiddly gluing, Thackeray found that form followed function, and a distinctive cuboidal cracker took shape.

1265666b.jpg
More sweet wrapper than spaceship, the fancy ribbons also function to conceal the clever way the cardboard snap is secured. (Image credits: Google Patents)

"Keep This..." brand crackers received both a patent grant and a trademark registration and were shortlisted in the Ethical and Sustainable Gift category of the 2022 Gift of the Year awards. Not only is reusing a cracker better for the environment, but an additional benefit is that you can decide what to put inside. So there can be snow excuses for dodgy puns on Christmas – that is our job! (Sorry.)

Frosty done fast

Speaking of snow: It is only right we spotlight the humble snowman. Of course, we all want our wintery sculptures to be worthy of exhibition in the most mawkish of seasonal TV movies, but the reality is often better suited to a house of horrors. Rolling three big balls of snow – and keeping them symmetrical – always seems easier said than done. And then there is the risk of some buried animal "treasure" ruining the pristine fruits of your labors. Thankfully, Giuseppe Mileto devised a way to avoid this back- and heartbreaking mess. Not only does his snowman-making apparatus "templatize" the making of the "perfect snowing" (a bold but valid claim, to be sure), but it also provides a healthy, sociable alternative to the instant entertainment promised by smartphones, tablets, games consoles and other forms of high-tech gadgetry asked of Santa lately.

1265666c.jpg
Drafting effective patent drawings that communicate an invention's workings is an art in itself, and the results can even be... artful. (Image credit: Google Patents)

The kit comprises a series of hemispherical bowls of various sizes that can be filled by shoveling loose snow directly into them. Alternatively, they can be dragged along the ground, allowing them to gather clean snow through an aperture in the base. Once filled, the bottom half of each body segment simply slides out of the bowl. The top half can then be gathered and upended on top of the lower. Repeat for each body segment, stack them on top of each other, et voilà (or rather "presto"), a magnificently proportioned, stately snowman Michelangelo would be proud of.

(Carrot not included.)

Ringing in the New Year around the globe

Once you have popped a few crackers and stuffed yourself with stuffed turkey, thoughts inevitably turn to the future. And as an international IP service provider, we have a special appreciation for the unique and quirky ways various cultures celebrate New Year's around the world. These customs run the imaginative gamut, including everything from hanging onions on the door (Greece), eating 12 grapes (Spain) and throwing plates (Denmark).

1265666d.jpg
In Italy, men and women often wear red underwear on New Year's Eve to bring luck, especially if they hope to conceive. However, additional attire is recommended for attending outdoor celebrations.

Unsurprisingly, many traditions center on food and drink, with one of the best-known New Year's Eve traditions having a distinctly French sparkle: drinking Champagne. At the start of this year, we explored the appropriately distinguished IP protections Champagne wine enjoys as an Appellation d'origine contrôlée (AOC) in its native land and a geographical indication (GI) in many other countries. Only sparkling wines produced in the eponymous area of France may legally be called Champagne wherever these IP designations are in effect.

If wine is not your thing, then perhaps you can ease yourself into 2023 with a warm cup of rooibos tea from South Africa or a platter of eclectic meats and cheeses like Jamón Ibérico (Spain), Roquefort (France) and Parmigiano-Reggiano (Italy). It turns out GIs protect the quality and character of a world of flavors, so you are sure to find just the right delicacy to grace the trays of your New Year's Eve party.

Reflections and expectations

As the clock on the wall continues its inexorable march (batteries permitting) and the long countdown begins, some are already looking forward to looking forward. But New Year's Eve is as much a time to think back on the year gone by as it is a chance to dream of days yet to come. And so we take a silent moment to recall those predictions and plans for 2022 that came to be and those that did not. As Scottish poet Robert Burns wrote in 1788, "Should old acquaintance be forgot, and never brought to mind?"

1265666e.jpg
Whether you are clinking Champagne, sparkling wine or something non-alcoholic this New Year's, take a second to consider just how many IP rights contribute to making sure your toast is all it can be. Cheers!

Of course, the tradition of singing Burns' "Auld Lang Syne" at the stroke of midnight on New Year's Eve boasts near-universal permeation in English-speaking corners of the world, so it is just as well the words and melody have long been in the public domain.

Before we sign off on another busy year, here is a final suggestion to energize your evening celebrations. Why not kick off a lively debate of what would happen if all IP became permanent on January 1, 2023? Be careful, though: Your guests might get more rambunctious than expected.

Or not.

Again, on behalf of everyone at the Dennemeyer Group, we would like to extend our warmest thanks and wish you and your loved ones a wonderful Christmas and a fantastic New Year! See you in 2023!

The content of this article is intended to provide a general guide to the subject matter. Specialist advice should be sought about your specific circumstances.

[View Source]

Mondaq uses cookies on this website. By using our website you agree to our use of cookies as set out in our Privacy Policy.

Learn More