- with readers working within the Metals & Mining industries
This decision relates to a European patent regarding a method for optimizing a chronological developing of consumption of electric energy by a group of different consumers with regard to a supply of electric power. The patent has been unsuccessfully opposed after grant and the opponent has filed an appeal. Here are the practical takeaways from the decision T 0199/16 of 27.8.2021 of Technical Board of Appeal 3.5.02:
Key takeaways
Whether a feature contributes to the technical character of the claimed subject-matter is to be assessed in view of the whole scope of the claim.
The invention
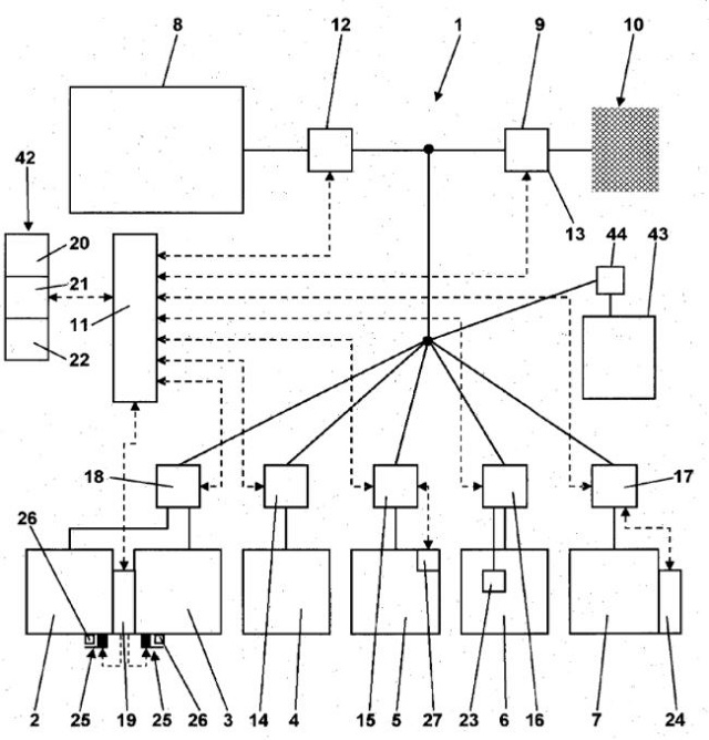
The invention generally relates to a method of and an apparatus for optimizing a chronological developing of consumption of electric energy by a group of different consumers with regard to a supply of electric power which includes electric power from at least one wind or solar power generator.

Figure 1 of EP2695270
Here is how the invention was defined in claim 1:
Claim 1 (granted)
[1] A method of optimizing a chronological developing of consumption of electric power
[1.1] by a group of different consumers (2 to 7) with regard to a supply of electric power
[1.2] including electric power from at least one wind or solar power generator (8),
[1.3.1] - wherein a consumption of electric power by the individual consumer (2 to 7) is measured
[1.3.2] to determine characteristic time curves of the consumption of electric power by the individual consumers (2 to 7);
[1.4] - wherein a prognosis of a chronological developing of the supply of electric power from the at least one power generator (8) is made for a future period of time;
[1.5.1] - wherein a plan for apportioning electric power to the individual consumers (2 to 7) within the future period of time is
[1.5.2] made based on the characteristic time curves of the consumption of electric power by the individual consumers (2 to 7) and
[1.5.3] adapted to the prognosis; and
[1.6] - wherein electric power is apportioned to the individual consumers (2 to 7) according to the plan within the future period of time,
characterized in
[1.7] - that the consumption of electric power by the individual consumers (2 to 7) is measured at a sample rate of at least 0.1 Hz; and
[1.8] - that the electric power is apportioned according to the plan within the future period of time at a temporal resolution equal to at least 0.1 Hz.
Is it patentable?
D1 was considered as the closest prior art. It was unarguable that D1 does not disclose features 1.3.2, 1.4 and 1.5.1 to 1.5.3. However, the respondent (opponent in the opposition proceedings) argued that these features do not have a technical character, but rather relate to mere mental acts and therefore are not to be taken into account in the assessment of inventive step.
However, the Board in charge had a different opinion:
2.1.4 The board recognises that method steps 1.3.2, 1.4 and 1.5.1 to 1.5.3 of claim 1, relating to determining characteristic time curves, making a prognosis for a future time period, making a plan for apportioning of electric power based on the characteristic time curves and adapting it to the prognosis, when considered in isolation, only involve data processing and simulation aspects. However it is a general principle that the question whether a feature contributes to the technical character of the claimed subject-matter is to be assessed in view of the whole scope of the claim.
The claimed invention does not refer to a simulation as such. The data processing or simulation is rather defined in claim 1 as being based on (real) measurements of consumed electric power in a technical system, resulting in a plan and a prognosis, which does not produce a purely virtual effect. Rather, the plan made on the basis of the characteristic time curves and thus, on the basis of the measured consumed electric power, is in fact defined in claim 1 as being used for a (real) apportionment of the electric power according to this plan within the future period of time at a temporal resolution equal to at least 0.1 Hz (feature 1.8). Consequently, claim 1 is clearly limited to a technical teaching, involving the specific technical use of the calculated characteristic time curves, plan and prognosis. Features 1.3.2, 1.4 and 1.5.1 to 1.5.3 in particular define a way of processing the measured consumed electric power such as to achieve an appropriate apportionment of electric power to individual consumers, and thus contribute to a specific technical effect. Thus, irrespective of wether features 1.3.2, 1.4 and 1.5.1 to 1.5.3 are per se considered to be technical or non-technical in nature, in the overall context of claim 1, they in any case provide a technical contribution to the invention, having technical character as a whole, over the prior art, and are consequently to be taken into account in the assessment of inventive step (see also the findings in T 0641/00 (COMVIK), Headnote I.).
2.1.5 For the sake of completeness, the board observes that it does not understand the decision G 1/19, cited by the respondent, to mean that any feature in a claim related to a simulation, if considered in isolation, is in principle not to be taken into account in the assessment of inventive step, and the respondent has not submitted anything further in this respect.
2.1.6 The board has therefore come to the conclusion that features 1.3.2, 1.4 and 1.5.1 to 1.5.3 are to be taken into account in the assessment of inventive step.
In the end, the Board concluded that the subject-matter of claim 1 is not rendered obvious by document D1 and that the ground for opposition under Article 100(a) in combination with Article 56 EPC does not prejudice the maintenance of the patent as granted.
Hence, the patent is maintained as granted.
More information
You can read the whole decision here:T 0199/16of 27.8.2021 of Technical Board of Appeal 3.5.02.
The content of this article is intended to provide a general guide to the subject matter. Specialist advice should be sought about your specific circumstances.