Happy Chinese New Year (新年快乐)! Chinese New Year, also known as the Spring Festival, is undoubtedly one of the most important holiday periods in China. Chinese New Year celebrations occur worldwide, driven by Chinese communities across the globe, and is a public holiday in many countries where there is a significant Chinese population.
The significance of New Year in Chinese culture cannot be underestimated. Chinese New Year is perhaps most important as a time for families to gather and eat together. The pre-New Year travel period in China itself is in fact known by a specific term "Chunyun" (春运) and has been deemed as one of the largest annual human migrations in the world. Chinese New Year is also associated with a whole host of traditions and practices which continue to be followed today – and some of them have been patented!
Fireworks
Chinese New Year is historically associated with large festivals and celebrations in towns and cities, and of course there is nothing more ostentatious to mark such celebrations than with fireworks! Fireworks are themselves originally a Chinese invention (believed to date from the Song dynasty – 920-1279), but has unsurprisingly seen many technological advances through the years. The Walt Disney Company were in fact the pioneering group behind using fireworks to create specific patterns in the sky, as illustrated by the following drawings from EP620910B (filed in 1992):

Despite the joy that firework displays can bring, there have also been increasing concerns about their association with pollution and the effect that large displays can have on local wildlife. While still the world's largest manufacturer of fireworks, China itself has now imposed strict controls on firework use and many cities in China have now banned general use of fireworks (with the exception of approved displays during public holidays). On the other hand, technology is never too far behind, a modern alternative to fireworks have come in the form of drone displays. Drone displays generally refer to the use of unmanned aerial vehicles equipped with a light source (such as LEDs) flying in a controlled and coordinated fashion. Drone displays have the obvious advantage of not generating the same type of smoke and noise pollution as fireworks, but can also be reused. Drone displays were used in the opening ceremony of the 2018 Winter Olympics and the 2020 Summer Olympics. A more recent patent application from Disney Enterprises (EP20194089.7) exemplifies the use of a drone in combination with ground displays and props (such as a model ship) to create modern spectacles in the night sky:

Dumplings
A personal favourite tradition (in fact, a personal favourite tradition of all holidays) is the food. Dumplings are one of the foods commonly eaten during Chinese New Year meals, and the practice of the whole family making the dumplings together (making the dough, making the individual wrap, preparing the filling, and finally wrapping each dumpling) is arguably as important as the food itself.
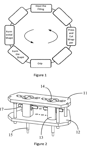
Of course, for people who would prefer parts of this process to be automated, technological solutions exist, as exemplified by US10506814B, which describes a device to specifically assist with the making of any dumpling foodstuff. Specifically, the automation machine of the invention can integrate the pressing and cutting of the dough wrap, injecting the filling, and forming the dumpling itself:

Dumplings should, of course, be appreciated as a generic term which can describe any number of foodstuffs from around the world which involve a filling wrapped in a starchy dough. Even Chinese dumplings (餃子) cannot be reduced to a single form, and different regions in China will have different traditions regarding dumpling fillings and condiments!
Red envelopes
Red is generally considered to be a "lucky" colour in China, and can be reflected in the wearing of red clothes during the Chinese New Year period. Red envelopes (红包) are another tradition, where red packets containing money are given out during the New Year period, typically from the elder generation to children. You would think that technological advancements may be more limited in this specific area, but JP2967146B describes an envelope for use in giving out gifts at new year which can also be used as an ornamental kite to be hung up on the wall:

So the next time you experience fireworks or dumplings, or receive money in a little red envelope, dazzle your friend with your new-found knowledge about their related patents!
The content of this article is intended to provide a general guide to the subject matter. Specialist advice should be sought about your specific circumstances.
[View Source]