This is the second article of a four-part IP Metaverse series exploring IP protections for Metaverse-related technology and consumer-facing brands (see our first published article "IP Metaverse Series - Part I: Brands are Plugging in and Cashing in - Protecting Trademarks and Copyright in Virtual Goods and Services").
Overview
The metaverse is considered the internet's next frontier and, accordingly, related patent filings for technologies are on the rise. While there is no generally accepted definition of "the metaverse", one apt description reads "a perpetual and persistent multiuser environment merging physical reality with digital virtuality... based on the convergence of technologies that enable multisensory interactions with virtual environments, digital objects and people..."1
Suitably, metaverse-related patent filings generally cover technologies related to augmented reality (AR), mixed reality (MR), and virtual reality (VR). These technologies seek to blur the line between the physical and digital domains, non-interactively and interactively integrate digital content into the real world, and create a fully immersive digital world existing entirely apart from the real world.2 A significant number of patent filings are directed to software and hardware innovations that facilitate the transfer of digital content to the real world and real content to the digital world to allow a real-world person to engage with digital content through their digital "avatar".
The Industry
Many high-profile technology companies are filing patent applications for technologies directed at the metaverse, including Roblox, Nvidia, Epic Games, Microsoft, IBM, Unity, and Apple. Of course, no list of companies actively seeking patent protection related to the metaverse would be complete without including Meta (formerly Facebook), which is of course synonymous with "the metaverse".
However, each of these companies has their own unique perspective as to what the metaverse is or ought to be.
Epic Games is focused on building connected social experiences through technologies in gaming and in the digital entertainment industry.3 Epic Games introduced one such social experience in 2019 when artist Marshmello performed the first-ever live virtual concert inside of Fortnite, an online video game developed by Epic Games, with millions of users in attendance.4
Microsoft's efforts in the metaverse are directed to facilitating MR collaborative and immersive remote/hybrid work experiences, regardless of the different physical locations of team members. For example, Microsoft envisions having meetings or coffee breaks that take place in virtual rooms amongst user-generated avatars. Further, in future video meetings over Microsoft Teams, users will have the option to overlay their avatar, where the avatar mirrors the user, allowing the user to provide a sense of presence and to be expressive even when they do not wish to be on camera.5
Patents
With the metaverse remaining a fluid concept, a review of recently granted patents and patent applications reveals that companies are pursuing patent protection for hardware and software of AR/MR/VR applications directed at shaping the union of physical and digital domains according to their particular vision.
Accordingly, similar to the discussion with respect to trademarks under IP Metaverse Series - Part I: Brands are Plugging in and Cashing in - Protecting Trademarks and Copyright in Virtual Goods and Services6, it is important for companies to consider their position within the metaverse—their potential opportunities, and the related risks associated with "sitting back" and getting in early. Like any emerging industry, the first movers always have the advantage of shaping mass thinking. The first companies to think about the form and applications of the metaverse and take concrete steps toward making that vision a "reality" will likely have the loudest voices and biggest opportunities in the metaverse.
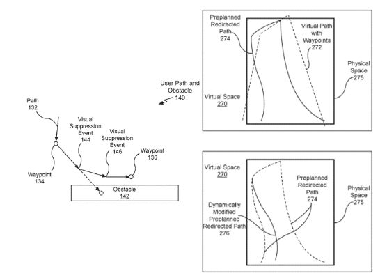
U.S. Publication No. 2020/0160590, entitled "Saccadic Redirection for Virtual Reality Locomotion", currently assigned to Nvidia Corporation.7
This US patent application is generally directed to a method, computer-readable medium, and system for redirecting a user's movement through a physical space while the user views a virtual environment. While wearing a VR headset, a user's path is conventionally redirected only when the user's head rotates. According to the teachings of the application, in addition to the conventional method, naturally occurring visual suppression events (i.e., when the user's eyes move rapidly relative to their head) can be detected, providing the system with more opportunities to imperceptibly redirect the user's path. In this way, the user may safely navigate through a defined physical space while wearing a VR headset even when the physical space does not align with the virtual environment that they are viewing, without colliding with real-world obstacles such as walls or furniture.

Figure 1B (Left) and Figure 2C (Right) of U.S. Publication No. 2020/0160590
U.S. Publication No. 2022/0068007, entitled "3D Asset Generation from 2D Images", currently assigned to Roblox Corporation.8
This US patent application discloses methods, systems, and computer-readable media to generate 3D assets from one or more 2D images. Online virtual experience platforms support use of virtual objects that mimic physical objects in a virtual environment, such as cars, structures, or toys, with which users may interact, observe, or create. The application teaches techniques for the use of a homeomorphic template mesh as a single parametrization within a machine learning model framework to generate 3D assets based on deformation of template 3D meshes. In this way, operators of online virtual experience platforms can accurately, quickly, and efficiently generate 3D object representations within a virtual environment.


Figures 6A to 6F of U.S. Publication No. 2022/0068007
The systems and methods taught in this US patent application are exemplified using the above 2D image of a cheetah as an input target image. Based upon the target image, a 3D mesh representative of a class of objects of interest (e.g., mammal) is obtained, which is then posed and deformed to match the 2D image. Subsequently the trained neural network maps a texture extracted from the 2D image to the deformed 3D mesh to create the finished 3D asset.
U.S. Patent No. 11,068,057, entitled "Wearable Device with Fiducial Markers in Virtual Reality", currently held by Facebook Technologies, LLC.9
This US patent teaches a virtual reality system including a fiducial ring, an imaging device, and a console, that enables a user to interact with virtual objects. The one or more fiducial rings include fiducial markers that correspond to a different location on the ring body. The VR console may receive an image of the fiducial markers on each of the fiducial rings, based upon which the VR console may determine the position of the user's fingers in the virtual space.

Figure 2 (Left) and Figure 3 (Right) of U.S. Patent No. 11,068,057
Further, based on the determined position, a virtual touch event may be sent to the VR system prompting the system to provide haptic feedback to the user that includes perception of touch of a virtual object in the VR system. For example, the haptic apparatus may restrict the movement of a user's finger as a perception of virtual touch in the virtual space. Haptic feedback may be visual (e.g., light pattern on the rings) or sensory (e.g., vibration, inflating/deflating a portion of the ring).
Conclusion
The future of the metaverse remains to be seen. This is an exciting time in the history of the internet, and it is likely that metaverse-related patent filings will increase as companies seek to not only stake their claim in the metaverse but to contribute to shaping the future of both the internet and the human experience of it.
Footnotes
1 https://www.mdpi.com/2673-8392/2/1/31/html
4 https://www.theguardian.com/games/2019/feb/03/marshmello-fortnite-in-game-concert-edm-producer
5 https://news.microsoft.com/innovation-stories/mesh-for-microsoft-teams/
7 https://patents.google.com/patent/US20200160590A1/en?oq=2020%2f0160590+
8 https://patents.google.com/patent/US20220068007A1/en?oq=2022%2f0068007+
9 https://patents.google.com/patent/US11068057B1/en?oq=11%2c068%2c057
The content of this article is intended to provide a general guide to the subject matter. Specialist advice should be sought about your specific circumstances.